Какие тесты с регистрацией проходимой дистанции чаще всего используются на практике?
Тест Купера (Cooper-test)
Предложен американским врачом К.Купером. Он заключается в определении максимальной дистанции, которую футболист способен преодолеть в течении 12 мин. Тест Купера выполняется в любом подходящем месте, желательно с ровной поверхностью, где возможно определение пройденной дистанции. В идеале — это стандартный трек длиной 400 м, с разметкой каждые 100 м. Перед началом тестирования испытуемые предварительно разминаются, а затем по команде стартуют, стараясь поддерживать максимально возможную для себя скорость (при утомлении разрешается переходить на шаг). По истечении 12 мин дается команда к окончанию бега и определяется пройденная дистанция с точностью до 100 м. Ориентировочно, результат тестирования оцениваются следующим образом (показатели верны для мужчин моложе 39 лет): меньше 1,5 км — очень плохо; 1,6—1,9 — плохо; 2,0—2,4 — удовлетворительно; 2,5—2,7 — хорошо; 2,8 и больше — отлично. Более точный расчет результатов представлен в нижеследующих таблицах (табл.1).
Таблица 1. Критерии интерпретации теста Купера
Нормативы теста Купера для лиц младшего возраста:

Нормативы теста Купера для лиц старшего возраста

Нормативы теста Купера для квалифицированных спортсме¬нов, чья работа связана с выносливостью:

Показатель V02 max по результатам теста можно вычислить по следующей формуле:
V02 max (мл/мин/кг)= (L - 504,9)/44,73,где L — протяженность дистанции в метрах.
Челночный тест(бип-тест)
Многоступенчатый фитнес-тест, известный также, как челночный тест с дистанцией 20 м, тест со звуковым сигналом («Ьеер»- или «bеер»-тест), на сегодняшний день является одной из наиболее распространенных процедур, при помощи которой оценивается аэробная работоспособность в современном футболе(рис. 7).
Тест включает бег между двух меток, отстоящих друг от друга на расстояние 20 м в соответствии с подаваемыми звуковыми сигналами. Отсюда и его название. Время между записанными звуковыми сигналами сокращается с каждой минутой (уровнем). Существует несколько версий теста, но наиболее часто используемая имеет начальную скорость бега 8,5 км/час, которая увеличивается на 0,5 км/час каждую минуту. Существуют и другие разновидности теста. Уровень подготовленности спортсмена оценивают по количеству преодоленных отрезков дистанции, прежде чем они не будут укладываться в требования записанных на носителе сигналов. Оценка может быть проведена по расчетному V02max, эквивалентному преодоленному расстоянию.
Рис. 8. Разметка дистанции и выполнение челночного теста

1) оснащение: плоская, не липкая поверхность, маркировочные конусы, кассета или диск с записью звуковых сигналов, средство воспроизведения.
2)валидность: имеются расчетные значения V02max, эквивалентные выполненной работе. Корреляция с V02max является высокой.
3) надежность: надежность зависит от того, насколько строго контролируется процесс тестирования и ведется учет показателей.
4) преимущества: существует возможность проведения тестирования у больших групп испытуемых при минимальных затратах средств и времени. Кроме того, тестирование является максимальным, в отличие от многих других способов тестирования выносливости.
5) недостатки: на результаты выполнения теста может оказывать влияние уровень мотивации, и, таким образом, интерпретируемые результаты являются, в значительной мере, субъективными. Так как тест, обычно, выполняется вне помещения, на его результаты могут влиять условия окружающей среды.
6) разновидности: существуют значительно различающиеся варианты теста, в связи с чем необходим выбор нормативов, являющихся корректными в данном случае.
В последнее время, в футболе активно разрабатываются и совершенствуются 2 вида Yo-Yo-тестов: 1) обычный прерывистый тест Yo-Yo на выносливость и 2) тест Yo-Yo на восстановление. В обычном тесте Yo-Yo, игроки выполняют челночный бег с короткими промежутками восстановления между рывками. Если, в обычном Yo-Yo-тесте оценивается способность игроков выполнять продолжительную переменную работу после уже совершенной значительной физической работы на выносливость (в этом тесте между рывками игрокам предоставляются 5-ти секундные отрезки отдыха), то задачей прерывистого теста Yo-Yo на восстановление, является определение способности игроков восстанавливаться после интенсивной физической нагрузки. В этом тесте, скорость более высока, чем в тесте на выносливость, а промежутки отдыха составляют 10 с. Следует отметить, что аудиокассеты могут с течением времени портиться, так что требуется регулярная калибровка теста. Компакт—диски не требуют такой строгой калибровки, однако, запись на них, также, периодически должна контролироваться. Различные варианты теста могут идти под разными названиями. Вследствие этого, необходим строго дифференцированный и осторожный подход к нормативам.
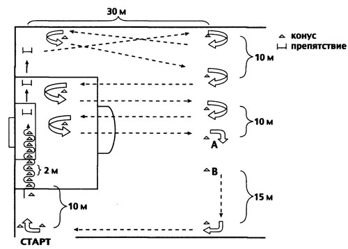
Тест BANGSBO
Это специфический футбольный тест на выносливость, предложенный Bangsbo и Liridquist, и, позднее, подробно описанный Bangsbo. На рис. 8 проиллюстрирован тестовый трек. Вкратце, продолжительность теста составляет 16,5 минут, в течение которых игроки чередуют 40 промежутков высокоинтенсивной работы, продолжительностью 15 секунд каждый, с таким же количеством промежутков низкоинтенсивной работы, продолжительностью 10 секунд каждый. Периоды отдыха ограничиваются звуковыми сигналами — одиночным сигналом вначале, и двумя свистками в конце каждого спринтерского отрезка. В течение периодов высокоинтенсивной нагрузки, игрокам следует описать круг вокруг штрафной площадки на футбольном поле. Они бегут 40 м лицом вперед, 8,25 м спиной вперед, 95,25 м снова вперед, в том числе слалом с углом разворота 120°, 8,25 м — бег боком лицом от центра и 8,25 м — лицом к центру. Перед каждым тестированием, футболисты разогреваются в течение 10 минут, и еще 10 минут знакомятся с дистанцией путем легкого разминочного бега. Затем они должны кратковременно, в течение 4-х минут, ознакомится с выполнением теста, путем чередования 15-секундных периодов интенсивных нагрузок с 10-секундными промежутками низкоинтенсивного бега. Это позволит игрокам адаптироваться к рациональному выполнению 16,5-минутного теста. После разогревания и ознакомления, игроки отдыхают в течение 10 минут.
Рис. 8. Разметка дистанции для выполнения теста Bangsbo (комментарии далее по тексту)

Примечание. Разметка циркулярной зоны для теста Bangsbo (А). Длина и ширина соответствуют размерам штрафной площадки. Зона восстановления разграничена четырьмя маленькими конусами в углах и деревянными досками на поле. Конусы 15 и 39 соответствуют изменениям направления движения, а конусы 21 и 33 — началу и концу слалома. Они должны иметь различный, легко идентифицируемый цвет. Эти четыре конуса в углах области (0, 12, 18, и 36) и конусы слалома (21-33) должны быть, по меньшей мере, высотой 1,2 м. Другие конусы могут быть меньшего размера.
Тактика выполнения теста (В). Тест длится 16,5 минут, в течение которых игроки чередуют 40 15-секундных высокоинтенсивных нагрузок и 10-секундных низкоинтенсивных нагрузок в виде бега трусцой. В течение периодов высокоинтенсивных нагрузок, футболисты обегают круг 160 м — 40 м лицом вперед, 8,25 м лицом назад, 95,25 м лицом вперед с выполнением слалома с поворотами 120°, 8,25 м боком лицом от центра и 8,25 м лицом к центру. В течение низких периодов интенсивности, игроки бегут трусцой к центру круга, и назад к последнему конусу, которого они достигли в конце предыдущего периода выполнения высокоинтенсивного бега. Если звуковой сигнал останавливает их в течение слалома, низкоинтенсивный бег трусцой выполняется по направлению к следующему конусу слалома и назад к последнему конусу, которого игрок достиг перед подачей сигнала. Учитывается расстояние, которое игрок преодолел в течение 40 периодов бега.
Тест HOFF-HELGERUD
Тест представляет собой прохождение на время специфического, сконструированного норвежскими учеными дриблинг-трека. Относительной новинкой является то, что работа в данном тесте, предназначенном для оценки аэробной работоспособности, выполняется с мячом. За один круг, который затем повторяется, футболист преодолевает расстояние равное в сумме 300 м. Продолжительность выполнения теста составляет 8 минут. Авторы утверждают, что корреляция между преодолеваемым в ходе тестирования расстоянием и максимальным потреблением кислорода, полученным в стендовом эксперименте, является достаточно высокой (г=0,87) (рис. 9).
Какие полевые тесты с регистрацией времени преодоления дистанции чаще всего используются на практике?
Из подобных тестов в практике футбола наиболее известен модифицированный тест Купера.
Модифицированный тест Купера
Купер, наряду со своим более известным тестом, предложил и др. способ оценки работоспособности с помощью 1,5-мильного теста. Он заключается в определении времени прохождении дистанции в 1,5 мили (2414 м) [6, 22]. Преимущества его по сравнению с 12-мин тестом — простота организации при большом числе испытуемых. Оценка результатов 1,5-мильного теста Купера у мужчин (в возрасте до 30 лет): больше 16,30 мин — очень плохо; 16,30 — 14,31 — плохо; 14,30 — 12,01 — удовлетворительно; 12,00 — 10,16 — хорошо; меньше 10,15 — отлично.
Рис. 9. Специфический футбольный дриблинг-трек для выполнения теста Hoff-Helgerud может использоваться, по утверждению авторов, не только для тестирования, но и для тренировки аэробной выносливости. Бег между метками А и В осуществляется вперед спиной. Высота препятствий составляет, примерно, 20 см. За один круг спортсмен преодолевает дистанцию равную 300 м

При выполнении выше перечисленных тестов возможна регистрация физиологических параметров, например, мониторирование частоты сердечных сокращений (ЧСС), взятие лактата по окончании выполнения теста и др., которые несут дополнительную информацию. Однако, есть ряд тестов, где учет некоторых физиологических параметров в процессе выполнения протокола нагрузки, играет определяющую роль в оценке физической работоспособности спортсмена.
Какие полевые тесты с акцентом на регистрацию физиологических параметров, чаще всего используют на практике?
Из таких методов в практике функционального тестирования наиболее широко используется метод Конкони (Concord 1982). Согласно гипотезе Conconi, при прогрессирующем или ступенчатом нарастании мощности выполняемой физической нагрузки, начиная с минимального для спортсмена уровня, в определенный момент нарастание частоты сердечных сокращений отклоняется от прямолинейного; точка изгиба (дефлексии, от англ. deflection) косвенно соответствует уровню лактатного(анаэробного) порога(рис 10; 10.1).
Рис. 10. Методика определения точки Конкони

Рис. 10.1. Таблица для записи текстовых данных и шкала для определения скорости бега

В полевых условиях ступенька имитируется постепенным увеличением скорости бега. При этом для нетренированных лиц рекомендуется начинать тест со скорости 4—5 км/час, для лиц тренированных, но адаптированных к другим типам нагрузки — 5—7 км/час, для спортсменов, адаптированны к нагрузкам на выносливость (сюда можно отнести и футболистов) — 8—12 км/ час. Скорость бега, как правило, увеличивается каждые 200 м, или же по времени — каждые 30—60 секунд дистанции; рекомендуемое возрастание скорости составляет, примерно, 0,5 км/ час на каждом отрезке дистанции.
Несколько более сложным, но более достоверным, является определение в полевых условиях анаэробного порога с помощью прямой регистрации лактата в условиях ступенчато нарастающей нагрузки. При этом продолжительность поддержания заданной скорости (величина ступени), должна быть не менее 2—3 минут, учитывая инертность процесса выхода лактата из клеток, и достижение наивысшей его концентрации в крови при заданной нагрузке через 2 минуты после ее начала (или, на 3-ей минуте). Следует учесть и инвазивность, а, следовательно, не безразличие для спортсмена процедуры получения лактата (укол в палец или мочку уха).
Какие тесты для оценки анаэробной работосопсобности наиболее часто используют на практике?
WINGATE-TECT
Для проведения теста необходим эргометр с регистрацией выходной мощности. На колесо устанавливается нагрузка. Обычно, она составляет 7,5% от массы спортсмена. Спортсмен адаптируется к велосипеду — ноги закрепляются на педалях, подбирается высота седла. Разминочная нагрузка — педалирование в течение 0,5—1,0 мин на удобной частоте вращения педалей. После команды — максимально резкий набор оборотов и педалирование с максиально возможной для спортсмена мощ-ностью в течение 30 секунд. Мощность считывается с максимальным разрешением. В конце теста (на 3-ей минуте) берется кровь на лактат. Далее — построение графика и расчет параметров (рис. 11,12). Рассчитывается пиковая мощность (как правило, достигающаяся на 5-ой секунде), мощность на 30-ой секунде и «индекс утомления» (или скорость падения мощности), определяемый, как разница между максимальной (как правило 5-ая секунда) и минимальной мощностью в тесте (как правило, 30-я секунда), деленная на время падения мощности. Есть и некоторые другие расчетные параметры.
Рис. 11. Компьютерный стенд для скоростно-силового (анаэробного) тестирования на базе велоэргометра «Монарк»

Рис. 12. Зависимость мощность-время. На абсциссе — время (с). На ординате — мощность (Вт). Пилообразная кривая — фактические значения. Сглаженная кривая — усредненные значения

Тест максимальной анаэробной мощности (МАМ)
Выполняется на велоэргометре, подобно тесту Wingate. Различие состоит в том, что данный тест выполняется по времени не более 10 с, что заставляет спортсмена показывать истинную максимальную мощность мышц нижних конечностей (как правило в тесте Wingate спортсмен не показывает истинную мощность мышц ног, так как подсознательно экономит силы, зная что тест продолжается несколько дольше).
Повторный тест МАМ и повторный WINGATE-ТЕСТЫ
Заключаются в повторении теста (как правило, трехкратное) через определенный промежуток времени (как правило, 30 с или 1 минута). При помощи повторных тестов определяется емкость энергоисточника — креатинфосфатного для МАМ или анаэробного лактатного для Wingate-теста.
ТЕСТ CUNNINGHAM И FAULKNER
Был впервые предложен специалистами по физиологии физических нагрузок, Cunningham DA, Faulkner JA., в 1969 г. Используется для оценки анаэробных способностей спортсмена, а именно, гликолитической емкости. Спортсмену предлагается продержаться максимальное количество времени, выполняя бег на тредбане, полотно которого движется со скоростью 8 миль/час (12,9 км/час). Тест выполняется до отказа спортсмена от продолжения нагрузки. Регистрируется время бега, проведенное спортсменом на дорожке от начала нагрузки. Более дифференцированное выполнение теста возможно, если известен показатель V02 max спортсмена. В этом случае, спортсмен должен выполнить нагрузку, равную 90% от мощности, при которой был зарегистрирован параметр V02 max. Учитывается время выполнения работы в тесте.
Изокенетическое тестирование силы мышц
При этом тестировании определяется мышечное усилие, которое спортсмен способен приложить для того, чтобы устройство двигалось с постоянной угловой скоростью, измеряемой в радиа¬нах в секунду (от лат. isos- равный, kinetic — движение) (рис 13). Чаще всего зарубежные исследователи используют измерения при угловых скоростях от 0,15 до 3,14 рад/с. Этим методом можно измерить достаточное количество параметров, в том числе и ассиметрию силы четырехглавой мышцы бедра (квадрицепса) на ногах. Квадрицепс имеет большое значение для игрока; он, в том числе, отвечает за силу удара по мячу, почему и называется «мышцей футболиста». Следует также сказать, что выраженная ассиметрия силы мышц левой и правой нижних конечностей, а также значительная ассиметрия сил мышц сгибателей и разгибателей, является фактором, предрасполагающим к травматизму. Несмотря на все достоинства изокинетических тестов, многие специалисты говорят о том, что тесты со свободными весами, более точно отражают силовые способности футболистов. Более того, свободные веса в практической работе используются многими командами, обеспечивая потенциал для со-вершенствования многозначной функциональной тестирующей программы в непосредственной связи с силовой тренировкой. В исследованиях, посвященных силовой тренировке, отмечалось, что зарегистрированное увеличение силового компонента зависит от сходства тренировочной программ с программой нагрузочного тестирования.
Рис. 13. Процедура изокинетического тестирования силовых возможностей футболиста на аппарате Biodex (США)

Спидография
Для регистрации скорости бега спортсменов разработан спидограф, состоящий из следующих узлов: стойки с основанием, двух спиннинговых катушек, магнитного датчика, аналогово-цифрового преобразователя (АЦП) и компьютера. На одной из катушек намотана леска, а на другой установлен магнитный датчик. Леска петлей наброшена на вторую катушку и с помощью карабина крепится к поясу испытуемого. Бегущий спортсмен вытягивает леску, скорость вращения катушки регистрируется датчиком, сигнал через АЦП передается в компьютер. Пример записи скорости бега представлен на рис. 15.
Рис. 15. Пример записи скорости бега на 60 м. На абсциссе — время (с). На ординате — скорость бега (м/с)

Во всех тестах в он-лайн режиме регистрируются кривые мощности, силы и скорости бега, которые затем обрабатываются с помощью специально созданных авторами программ.
Вертикальный прыжок
Для точного выполнения этого теста, необходима платформа, регистрирующая силу отталкивания. Он может быть выполнен как в лабораторных, так и в полевых условиях. Тест позволяет оценить способность игрока прыгать в высоту, и, таким образом, мощность мышц ног. В основном, регистрируются показатели прыжка из положения полусидя с руками на бедрах, а также свободного встречного прыжка. Существует тесная взаимосвязь между высотой вертикального прыж¬ка и показателями общей физической работоспособности.
Тест из 5 прыжков
Этот тест заключается в выполнении пяти прыжков из положения стоя на полусогнутых ногах. У футболистов результаты этого теста тесно коррелируют с показателем одиночного вертикального прыжка. Объединенные показатели выполнения 5-ти прыжков позволяют оценить параметры мощности футболиста. Исследования у тунисских футболистов в возрасте до 23 лет показали, что данные этого теста тесно взаимосвязаны с анаэробными показателями при выполнении одиночного вертикального прыжка на регистрирующей силу платформе.
Спринтерский рывок на 30 метров
Этот тест широко применяется в футбольной практике и хорошо отражает дистанцию в матче, пробегаемую во время рывковых усилий. Целесообразно регистрировать показатели каждые 10 м дистанции. Для более точной регистрации используются фотодатчики, а сам тест выполняется на футбольном поле в соответствующей спортивной амуниции.
Повторный спринт-тест (футбольный спринт-тест BANGSBO)
В данном тесте сопоставляются результаты семи спринтерских рывков на 34,2 м (30 м в длину с уходом вбок на 5 м в промежутке дистанции между 10 м и 20 м) с ходьбой (прыжками) в обратном направлении примерно в течение 25 с. Результаты представлены следующими показателями: 1) лучшее время в спринте; 2) среднее время для семи спринтерских рывков; 3) индекс утомления (разница между лучшим и худшим временем). Тест, предположительно, позволяет оценить «скоростную выносливость» футболиста, которая является важнейшей характеристикой в современном футболе (рис 16).
10-метровый челночный тест
Этот тест включает челночный бег на 10 м, при выполнении которого комбинируются скорость, мощность и координация. Тест включает спринтерский рывок на 10 м вперед вокруг конуса, помещенного между двумя фотоэлементами, и назад на стартовую линию.
Wisloff et al. показали, что результаты данного теста тесно коррелируют с силой одиночного максимального мышечного сокращения (IRM — от англ. rate maximum) из положения сидя, а также с высотой вертикального прыжка.
Рис. 16. Протокол спринт-теста

Челночный анаэробный тест
В классическом варианте, расстояние, пробегаемое в тесте, составляет 300 ярдов (273,6 м). Для выполнения теста одним человеком, необходимо два конуса, установленных друг от друга на расстоянии 25 ярдов (22,8 м). После сигнала, спортсмен должен добежать с максимальной скоростью 6 раз до противоположного конуса, развернуться вокруг него, и вернуться обратно (итого, 12 мини-отрезков дистанции). Этот метод применяется и для тестирования некоторых футбольных команд России, с той лишь разницей, что общая протяженность дистанции составляет 300—350 м, а количество и протяженность мини отрезков дистанции, преодолеваемых спортсменом, равняется 10x30 м, либо 7x50 м.
Для оценки гликолитической емкости и способности к восстановлению после анаэробных нагрузок в полевых условиях, может быть использован повторный челночный анаэробный тест. При этом, после периода отдыха 5 минут, спортсмену предлагают выполнить такую же нагрузку повторно. При этом регистрируется, насколько ухудшились результаты, в сравнении с выполнением первой нагрузки. Для большей объективизации результатов, можно регистрировать частоту сердечных сокращений (ЧСС) и лактат после выполнения начальной и повторной нагрузок.
Какие качества систем энергообеспечения проверяются при ис-пользовании физиологических тестов?
Каждый источник энергообеспечения имеет свою мощность, емкости и эффективность. Кроме того, они различаются по скорости развертывания — первым вступает
в действие анаэробный алактатный источник, затем — анаэробный лактатный, и, наконец — аэробный. Каждый из тестирующих методов имеет свою область применения для определения конкретных характеристик энергоисточника (табл. 2)
Таблица 2. Оценка энергосистем при помощи физиологических тестов

* — емкость аэробного источника, теоретически считается «бесконечной», хотя это и не совсем так — при отсутствии дополнительных энергоисточников и истощении запасов гликогена деятельность аэробной системы может быть лимитирована
